
1.本实用新型涉及电池运输技术领域,尤其涉及一种高效抗震的新能源电池运输箱。
背景技术:
2.锂离子电池运输方式包括空运、水运、陆运。由于锂是一种特别容易发生化学反应的金属,易延伸和燃烧,锂电池包装和运输,如处理不当,易燃烧和爆炸,事故也时有发生。其包装和运输中的非规范行为而导致的事故越来越受到重视,国际上多个机构颁布有多个规定,各管理机构也愈发严格,提高操作要求。
3.现有的大部分新能源电池运输箱在进行运输时,没有很好的对电池进行减震,使得电池在运输过程中容易受到损伤,且大部分运输箱只是单一的根据特定型号的电池进行限位,在一定程度上增加的运输箱的成本。
技术实现要素:
4.本实用新型的目的是为了解决现有技术中存在的缺点,而提出的一种高效抗震的新能源电池运输箱的装置。
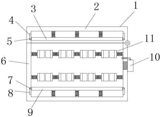
5.为了实现上述目的,本实用新型采用了如下技术方案:一种高效抗震的新能源电池运输箱,包括装置本体,所述装置本体包括箱盖和箱体,所述箱盖和箱体之间通过铰链转动连接;
6.所述箱盖的两侧内壁上开设有第一滑槽,两个所述第一滑槽之间设置有减震盖板,所述减震盖板的两端焊接有第一滑块,所述第一滑块和第一滑槽滑动连接,所述减震盖板和箱盖的内部顶板之间焊接有弹簧;
7.所述箱体的两侧内壁上开设有第二滑槽,两个所述第二滑槽之间设置有减震底板,所述减震底板的两端焊接有第二滑块,所述第二滑块和第二滑槽滑动连接,所述减震底板和箱体的内部底板之间焊接有弹簧,所述箱体内还设置有夹持本体;
8.所述夹持本体包括第一夹持板和第二夹持板,且第一夹持板和第二夹持板与箱体的内表壁之间焊接有弹簧。
9.优选的,所述夹持本体共设置有若干个,若干个所述夹持本体均匀分布在箱体内,且相邻的两个夹持本体之间焊接有弹簧。
10.优选的,若干个所述夹持本体共分为两组,两组所述夹持本体相互平行。
11.优选的,所述箱体的一侧外表壁上导通连接有智能除湿器。
12.优选的,所述第一夹持板和第二夹持板的内表壁为弧形结构,且第一夹持板和第二夹持板尺寸大小相同。
13.优选的,所述第一夹持板和第二夹持板的弧面相对设置。
14.与现有技术相比,本实用新型的有益效果是:
15.1、本实用新型中,该一种高效抗震的新能源电池运输箱,通过夹持本体的设计,将
电池放入第一夹持板和第二夹持板之间,在弹簧的作用下,弹簧带动第一夹持板和第二夹持板对电池进行弹性限位夹持,使得该装置可以在一定范围内根据不同型号大小的电池进行限位夹持,提高了该装置的实用性。
16.2、本实用新型中,该一种高效抗震的新能源电池运输箱,通过减震盖板和减震底板的设计,在弹簧的作用下,电池在左右晃动时,第一夹持板和第二夹持板对电池进行弹性缓冲,对电池达到减震效果,电池在上下晃动时,减震盖板和减震底板对电池进行弹性缓冲,进一步对电池达到减震效果,有效减少了电池发生磕碰的情况,提高了电池的使用寿命。
17.3、本实用新型中,该一种高效抗震的新能源电池运输箱,通过智能除湿器的设计,智能除湿器对装置本体内进行感应湿度,在湿度过高时,智能除湿器对装置本体内进行除湿,减少了电池受到湿气的影响,进一步提高了电池的使用寿命。
附图说明
18.图1为本实用新型提出的一种高效抗震的新能源电池运输箱的结构示意图;
19.图2为本实用新型提出的一种高效抗震的新能源电池运输箱的俯视图;
20.图3为本实用新型提出的一种高效抗震的新能源电池运输箱的夹持本体立体图。
21.图例说明:
22.1、装置本体;2、箱盖;3、减震盖板;4、第一滑槽;5、第一滑块;6、箱体;7、第二滑块;8、第二滑槽;9、减震底板;10、智能除湿器;11、夹持本体;111、第一夹持板;112、第二夹持板。
具体实施方式
23.下面将结合本实用新型实施例中的附图,对本实用新型实施例中的技术方案进行清楚、完整地描述,显然,所描述的实施例仅仅是本实用新型一部分实施例,而不是全部的实施例。基于本实用新型中的实施例,本领域普通技术人员在没有做出创造性劳动前提下所获得的所有其他实施例,都属于本实用新型保护的范围。
24.在本实用新型的描述中,需要说明的是,术语“中心”、“上”、“下”、“左”、“右”、“竖直”、“水平”、“内”、“外”等指示的方位或位置关系为基于附图所示的方位或位置关系,仅是为了便于描述本实用新型和简化描述,而不是指示或暗示所指的装置或元件必须具有特定的方位、以特定的方位构造和操作,因此不能理解为对本实用新型的限制;术语“第一”、“第二”、“第三”仅用于描述目的,而不能理解为指示或暗示相对重要性;此外,除非另有明确的规定和限定,术语“安装”、“相连”、“连接”应做广义理解,例如,可以是固定连接,也可以是可拆卸连接,或一体地连接;可以是机械连接,也可以是电连接;可以是直接相连,也可以通过中间媒介间接相连,可以是两个元件内部的连通。对于本领域的普通技术人员而言,可以具体情况理解上述术语在本实用新型中的具体含义。
25.参照图1
?
3,一种高效抗震的新能源电池运输箱,包括装置本体1,装置本体1包括箱盖2和箱体6,箱盖2和箱体6之间通过铰链转动连接;
26.箱盖2的两侧内壁上开设有第一滑槽4,两个第一滑槽4之间设置有减震盖板3,减震盖板3的两端焊接有第一滑块5,第一滑块5和第一滑槽4滑动连接,减震盖板3和箱盖2的
内部顶板之间焊接有弹簧;
27.箱体6的两侧内壁上开设有第二滑槽8,两个第二滑槽8之间设置有减震底板9,减震底板9的两端焊接有第二滑块7,第二滑块7和第二滑槽8滑动连接,减震底板9和箱体6的内部底板之间焊接有弹簧,箱体6内还设置有夹持本体11;
28.夹持本体11包括第一夹持板111和第二夹持板112,且第一夹持板111和第二夹持板112与箱体6的内表壁之间焊接有弹簧。
29.夹持本体11共设置有若干个,若干个夹持本体11均匀分布在箱体6内,且相邻的两个夹持本体11之间焊接有弹簧。
30.若干个夹持本体11共分为两组,两组夹持本体11相互平行。
31.箱体6的一侧外表壁上导通连接有智能除湿器10。
32.第一夹持板111和第二夹持板112的内表壁为弧形结构,且第一夹持板111和第二夹持板112尺寸大小相同。
33.第一夹持板111和第二夹持板112的弧面相对设置。
34.工作原理:
35.该一种高效抗震的新能源电池运输箱进行使用时,将电池放入第一夹持板111和第二夹持板112之间,在弹簧的作用下,弹簧带动第一夹持板111和第二夹持板112,第一夹持板111和第二夹持板112对电池进行弹性限位夹持,使得该装置可以在一定范围内根据不同型号大小的电池进行限位夹持,提高了该装置的实用性。
36.该一种高效抗震的新能源电池运输箱进行运输产生震动时,震动传输给箱盖2和箱体6,箱盖2和箱体6将震动传输给电池,电池进行作用晃动,在弹簧的作用下,电池在左右晃动时,电池将震动传输给第一夹持板111和第二夹持板112,第一夹持板111和第二夹持板112将震动传输给弹簧,此时弹簧对第一夹持板111和第二夹持板112进行弹性缓冲,对电池达到减震效果,电池在上下晃动时,电池将震动传输给减震盖板3和减震底板9,减震盖板3和减震底板9将震动传输给弹簧,此时弹簧对减震盖板3和减震底板9进行弹性缓冲,进一步对电池达到减震效果,有效减少了电池发生磕碰的情况,提高了电池的使用寿命。
37.该一种高效抗震的新能源电池运输箱进行除湿时,在智能除湿器10的作用下,智能除湿器10对装置本体1内进行感应湿度,在湿度过高时,智能除湿器10对装置本体1内进行除湿,减少了电池受到湿气的影响,进一步提高了电池的使用寿命。
38.以上所述,仅为本实用新型较佳的具体实施方式,但本实用新型的保护范围并不局限于此,任何熟悉本技术领域的技术人员在本实用新型揭露的技术范围内,根据本实用新型的技术方案及其实用新型构思加以等同替换或改变,都应涵盖在本实用新型的保护范围之内。

